Apple nghiên cứu pin nhiên liệu cho MacBook Pro
Apple nghiên cứu pin nhiên liệu cho MacBook Pro, 39856, Nguyên Khang Blog MuaBanNhanh
|
|
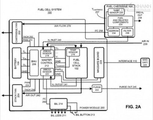
| Sơ đồ hệ thống sử dụng cell nhiên liệu của Apple. Ảnh:Appleinsider. |
Theo Slashgear, Apple vừa nộp đơn lên phòng Quản lý Thương hiệu và Bằng sáng chế của Mỹ xin cấp bằng sáng chế sử dụng công nghệ cell nhiên liệu cho pin MacBook Pro và các thiết bị mới. Các cell nhiên liệu sẽ giúp cho sản phẩm trở nên nhỏ và nhẹ hơn so với các model chạy bằng pin hiện tại.
Hai đơn xin cấp bằng sáng chế kể trên có tên là "Hệ thống cell nhiên liệu cấp nguồn cho thiết bị điện toán di động" và "Hệ thống cell nhiên liệu gắn trên thiết bị điện toán di động". Công nghệ mới này sử dụng cell nhiên liệu hydro giúp cho một chiếc MacBook chạy được nhiều ngày thậm chí nhiều tuần.
Tuy vậy, việc phát triển hệ thống cell nhiên liệu hydro sao cho vừa phù hợp túi tiền lại vừa có tính di động cao sẽ là thách thức cho Apple.
Nguyên Khang Chưa xác định sản phẩm bán chạy, tiêu điểm.